HAM Radio ZendExamens Banner  [ Welkom ]  [ Het waarom ]  [ Examens ]  [ Morse sectie ]  [ QTH Locator ]  [ Lijsten / Tabellen ]  [ Documenten ]  [ Link Sectie ] 
Home » Examen oefeningen » Start pagina F/C examens » Per VRZA Hoofdstuk » Antennes, transmissielijnen en voortplating van electromagnetische golven

Antennes, transmissielijnen en voortplating van electromagnetische golven (10 vragen).


Vraag 1


Een in het midden gevoede halvegolfantenne is in resonantie op 7 MHz.

Bij gebruik van deze antenne op 14 MHz is de impedantie in het voedingspunt:


sterk inductief
veel lager
sterk capacitief
veel hoger


Vraag 2


Stelling 1
De antennewinst van een gevouwen dipool is groter dan die van een enkele dipool.

Stelling 1
De antennewinst van een 12 elements Yagi-antenne is groter dan die van een 6 elements Yagi-antenne.

Wat is juist:


stelling 1 en 2
alleen stelling 1
alleen stelling 2
geen van beide stellingen


Vraag 3


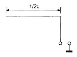
Welke figuur stelt een eindgevoede halvegolfantenne voor?


PE1HVH - image bij vraagnr 1
PE1HVH - image bij vraagnr 2
PE1HVH - image bij vraagnr 3
PE1HVH - image bij vraagnr 4


Vraag 4


Een halvegolfantenne wordt aan het einde gevoed via een voedingslijn met een lengte van een kwartgolf.

De impedantie gemeten tussen P en Q is:

PE1HVH - image bij vraagnr 4
hoog
oneindig
nul
laag


Vraag 5


Een zender werkend op 3,5 MHz wordt aangesloten op een antenne bestaande uit een draad met een lengte van 25 meter.

Welke van de onderstaande aankoppelingen is juist ?


PE1HVH - image bij vraagnr 1
PE1HVH - image bij vraagnr 2
PE1HVH - image bij vraagnr 3
PE1HVH - image bij vraagnr 4